新聞資訊
塑料檢查井下井前安全注意事項
1.打開塑料檢查井蓋,使其干燥至少6個小時。 如有必要,請使用軸流風扇通風30分鐘;2.將點燃的紙放入塑料檢查孔中,以檢查是否有足夠的氧氣;3.穿戴鎧裝,尤其是···
公司新聞1682 2021-03-17
塑料檢查井的安裝與施工詳解
1.1 一般規定1.1.1 排水檢查井安裝施工前,應與排水管道工程同時做好技術交底工作。1.1.2 施工單位應編制詳細的施工組織方案。1.1.3 施工單位應根據···
公司新聞3668 2021-03-17
塑料檢查井對現代生活的影響
使用塑料檢查井來排水是很重要的節水以及環保設施。塑料檢查井是每個城市的地下排水系統中不能缺少的排水設施。排水用檢查井通常都是沿公用設施鋪設的,每隔20到40m距···
公司新聞1652 2021-03-15
塑料檢查井相比磚砌檢查井更適合雨雪天···
在冬季的時候,塑料檢查井有著很大的作用體現。細心的人可以發現,近幾天,降溫速度變快,早上地面的寒霜白花花的一片,甚至很多路段會出現結冰現象,沒有下雪,沒有下雨,···
公司新聞1058 2021-03-15
HDPE雙壁波紋管相比水泥承插管的優···
由于HDPE 雙壁波紋管比水泥管輕很多,容易套接,所以施工難度大大降低。較短的HDPE 雙壁波紋管6 m和2.5 m的水泥管大大縮短了工期。其實他除了**次還有···
行業新聞1788 2021-03-10
HDPE雙壁波紋管的三種連接方式
HDPE 雙壁波紋管管道接口應采用橡膠圈接口,可分為三種連接方式:玻璃鋼管體連接和單橡膠密封;鑄鐵鞍座管連接,接頭橡膠圈密封;套筒橡膠圈密封。HDPE 雙壁波紋···
行業新聞2838 2021-03-10
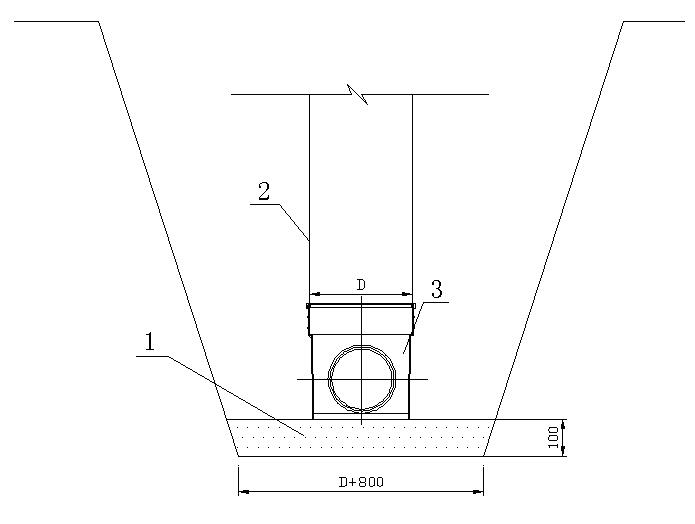
塑料檢查井底板結構及尺寸介紹
檢查井地面結構有三種類型:注塑、壓鑄和焊接。注塑模具由注塑機加工成型,可直接成型為底板或帶有底板和下軸的檢驗底座;壓鑄模具采用熱擠壓冷壓或熱板冷壓成型方法形成底···
公司新聞1572 2021-03-08
論雨污排放率塑料檢查井是傳統檢查井的···
塑料檢查井是一種新型環保節能產品,具有節地、節能、節水、節材、環保的特點。塑料檢查井內壁光滑平整,有凹槽。污垢難保養。它具有優異的排水性能,降低了堵塞的可能性。···
公司新聞1095 2021-03-08
論施工期塑料檢查井比傳統的磚檢查井快···
隨著各地取消磚砌檢查井的政策,現在主流檢查井都采用了塑料檢查井。在施工期,塑料檢查井比傳統的磚檢查井快幾倍,性能和環保性都優于磚檢查井。塑料檢查井由井座、軸、井···
行業新聞1710 2021-03-05
HDPE雙壁波紋管產品優越性
HDPE雙壁波紋管,簡稱PE波紋管。雙壁波紋管是由高密度聚乙烯制成的新型輕質管材,具有重量輕、耐壓高、韌性好、施工速度快、使用壽命長的特點。與其他結構的管道相比···
行業新聞1305 2021-03-05
污水檢查井施工完之后需要進行哪些檢查···
整體污水檢查井采用一次性注塑成型,它由一個底座和一個桶組成,材料以高分子樹脂材料為主,占80%以上。桶是一次性注射成型產品,或多個注射成型的組合。它的高度可調,···
公司新聞1135 2021-03-03
為什么小區都采用塑料檢查井?
塑料檢查井,在現如今的工程建筑運用是愈來愈多了,據調查,在全國性在建、改造、改建工程中,工程建筑污水管道85%選用塑料軟管,工程建筑降水排水管道80%選用塑料軟···
公司新聞1186 2021-03-03
為何塑料檢查井更適合市政道路工程?
一、新型環保建材由于塑料檢查井優越的產品性能,建設部“十一五技術公告”中將塑料檢查井列為重點推廣新產品。塑料檢查井與塑料管材具有良好的可聯接性,因而很好地解決了···
公司新聞1012 2021-03-01
道路建設使用塑料檢查井是因為它值得
塑料檢查井采用的是一次注塑成型工藝,它與傳統磚砌井相比具有這幾大優勢:(1)塑料檢查井在項目施工中可以直接運用,施工簡單且施工速度快,塑料檢查井與同一時段內的施···
公司新聞1239 2021-03-01
塑料檢查井安裝時的*大間距有哪些呢
塑料檢查井安裝時的*大間距是對于雨水塑料檢查井安裝的*大間距,規定有以下幾點: 1.雨水口間距宜為25~50m。連接管串聯雨水口個數不宜超過3個。雨水口連接管長···
行業新聞1362 2021-02-27
塑料檢查井相比磚砌檢查井更適合雨雪天···
在冬季的時候,塑料檢查井有著很大的作用體現。細心的人可以發現,近幾天,降溫速度變快,早上地面的寒霜白花花的一片,甚至很多路段會出現結冰現象,沒有下雪,沒有下雨,···
行業新聞1205 2021-02-27



